https://www.techpowerup.com/322742/ CAMM2或許大家都不太熟悉 沒關係 讓我大概解釋 https://i.imgur.com/tThWjPz.jpeg
大家熟悉的筆電記憶體應該都長這樣 JEDEC規範此類型RAM為SODIMM 我們大家桌機常用的叫做DIMM 筆電RAM一路發展到現在 很多都做成焊死的了 一方面是為了賺你錢 另一方面是為了賺你錢 後來CAMM的概念誕生了 一開始是DELL提出的 現在則是由JEDEC主導CAMM2並納入規範 https://i.imgur.com/Ovkm0aD.png
https://i.imgur.com/YysdPPp.png
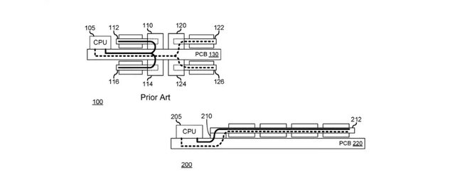
CAMM2的誕生讓輕薄筆記本多了換記憶體的可能性變高了 但也要看廠商要不要給你 因為CAMM2就薄薄一片鎖上去就好 比起傳統SODIMM是有點厚度的來說 這個薄了不少 也因為他的線路走線比較簡單 所以速度更能達到更快的效果 功耗也更小 這是CAMM2的簡單介紹 目前 4折星準備在PROJECT ZERO主板上推出一個新的概念 https://i.imgur.com/1AxzJcI.jpeg
那就是將CAMM2的記憶體放到ATX主板上 這個概念非常有趣 雖然大幅降低了通用性 但CAMM2的模組設計裝起來後可以讓原本RAM那邊用一塊大金屬片做整個平面就好 這樣整個主板看來更簡潔 也對於配色控來說不用擔憂問題 同時還避免了塔散檔RAM問題 也減少CPU那邊風流被遮擋問題 再來CAMM2通常已經是雙通道了 所以只要放一片上去鎖好就好 缺點喔 那就是貴 剛推出外加額外開模設計 CAMM2跟這主板一定會很貴 然後擴充性也是限制的 目前看來只能插一片 不知道未來能不能插兩片甚至四片 其實我覺得這個概念更適合用在ITX主機上 如果未來成本低了 那ITX上用這個根本福音 話說 4折星你可以多放點心力到你們設計部門以及行銷部門嗎...? 這兩個部門看起來都是災難欸 一個是不會設計 一個是把品牌亂改名稱亂改系列 -- https://i.imgur.com/814uBqf.jpeg https://i.imgur.com/1yEimNR.jpeg
https://i.imgur.com/aHzxvdl.jpeg https://i.imgur.com/xZPpU1t.jpeg
https://i.imgur.com/gNQ0CVg.jpeg https://i.imgur.com/meoLpR0.jpeg
https://i.imgur.com/HzP37RD.jpeg https://i.imgur.com/o5KGUsZ.jpeg
https://i.imgur.com/Ek8ETXc.jpeg https://i.imgur.com/Yk6Xmvw.jpeg
https://i.imgur.com/1C8wpQf.jpeg https://i.imgur.com/LHTQMYw.jpeg
-- ※ 發信站: 批踢踢實業坊(ptt.org.tw), 來自: 220.134.110.213 (臺灣) ※ 文章網址: https://ptt.org.tw/PC_Shopping/M.1716815958.A.4B1
as920909: 不是已經有LPCAMM2了嗎 36.225.164.125 05/27 21:23
as920909: 喔喔是桌電主機板裝CAMM2 36.225.164.125 05/27 21:24
giancarlo82: 一樣針腳放主板上 人損判定起手式106.107.240.191 05/27 21:33
E6300: 這個只適合筆電,ITX散熱器都比RAM還高1.172.205.77 05/27 21:34
reaturn: 問題就是貴111.242.182.6 05/27 21:35
spfy: 這個在桌機上...有任何優勢嗎?27.242.162.110 05/27 21:39
Smallsh: itx迷你主機化?1.168.61.209 05/27 21:39
mrme945: 這在PC上沒有比較省空間吧,對主板來說不 111.71.216.38 05/27 21:40
mrme945: 是更佔面積嗎111.71.216.38 05/27 21:40
mrme945: 話說現在有什麼筆電採用CAMM2嗎?111.71.216.38 05/27 21:41
oopFoo: 這個ram的 速度可以提高許多,因為訊號58.114.66.74 05/27 21:45
oopFoo: 比傳統的dimm好許多。也不會擋到散熱58.114.66.74 05/27 21:46
oopFoo: thinkpad p1 gen7已經裝lpcamm2了。我以為 58.114.66.74 05/27 21:47
oopFoo: 桌機也會跟進lpcamm2,結果還是camm2有點58.114.66.74 05/27 21:48
benmei99: 桌機的好處就是高頻訊號走線可以更短訊 110.28.9.238 05/27 21:50
benmei99: 號更佳,理論上超頻會更好超 110.28.9.238 05/27 21:50
oopFoo: 意外。想說lpddr的量大。58.114.66.74 05/27 21:52
mikapauli: lp的比較差吧118.166.90.93 05/27 21:55
ee8iqp7x: 沒啥意義140.116.35.112 05/27 21:56
Zenryaku: 問題是project zero原本的設計就醜,壓 220.136.87.45 05/27 22:06
Zenryaku: 扁了還是醜 220.136.87.45 05/27 22:06
oopFoo: 應該是桌上型cpu沒有認證lpddr。容量應該 58.114.66.74 05/27 22:08
oopFoo: 是一樣的。 58.114.66.74 05/27 22:08
waterfall: itx可以設計放背面嗎? 39.15.41.185 05/27 22:15
chauan: itx有那空間嗎? 73.68.105.123 05/27 22:16
libra0tw: 筆電上用的一個原因是SO-DIMM有6400MT/s 1.171.7.39 05/27 22:24
libra0tw: 的限制 1.171.7.39 05/27 22:24
cpp90312: 新玩意是不錯 但真的要擺在Z790嗎? 114.40.199.231 05/27 22:38
otosaka: 這可以塞在背面嗎 111.240.97.243 05/27 22:58
otosaka: 蠻酷的 111.240.97.243 05/27 22:59
zxzx8059: dell自己的raid卡就用鎖的在server 1.161.81.46 05/27 23:01
zxzx8059: 上 1.161.81.46 05/27 23:01
C13H16ClNO: 問題在$$上+1 36.224.237.26 05/27 23:10
C13H16ClNO: 只能裝一塊代表壞了全換 36.224.237.26 05/27 23:10
maplefoxs: 這樣有比較省空間嗎… 123.193.193.38 05/27 23:14
tennyleaz: 裝在itx主機板背面的話很棒阿 1.169.217.94 05/27 23:55
cka: Deskmini不是早就裝sodimm了? 36.230.86.37 05/27 23:56
Ahhhhaaaa: 桌機原本的DIMM再高也不會比CPU扇高 123.192.245.57 05/28 00:06
ang728: 不是唯一一家會展CAMM2 on DT的 1.174.9.242 05/28 01:22
ketrobo: 單出筆電主板不就好了? 114.136.218.46 05/28 01:25
b325019: 看起來就很佔空間 114.32.117.131 05/28 01:39
storym94374: 這次的簽名檔不錯 220.135.37.247 05/28 02:16
savagy: 這樣還能ARGB嗎??不會發光我可是不要的喔125.229.193.128 05/28 02:34
bc0121: 做成背插可能才比較適合ITX,不然RAM平放 122.121.23.206 05/28 06:54
bc0121: 安裝會多佔用主機板表面積,上方的垂直空 122.121.23.206 05/28 06:54
bc0121: 間也很難有效利用,不過對外觀派來說就很 122.121.23.206 05/28 06:54
bc0121: 有發展空間,比如在RAM上覆蓋更霸氣的散熱 122.121.23.206 05/28 06:54
bc0121: 馬甲、加裝ARGB或小螢幕之類的炫砲玩意兒 122.121.23.206 05/28 06:54
bc0121: 等 122.121.23.206 05/28 06:54
kamir: 散熱如何,整塊躺平 42.70.62.195 05/28 06:57
ienet788: itx那種寸土寸金的大小都要走垂直違建 111.83.35.165 05/28 09:03
ienet788: 了,應該不適合這種躺平的,還是現在要 111.83.35.165 05/28 09:03
ienet788: 疊疊樂,垂直堆疊ram/ssd跟音效卡,然 111.83.35.165 05/28 09:03
ienet788: 後直接用單塔導管處理,但這樣不會變成 111.83.35.165 05/28 09:03
ienet788: 單塔火烤三明治? 111.83.35.165 05/28 09:03
oldriver: 這以後一定會超量上疊 怎麼可能只有一片 61.230.121.56 05/28 09:08
oldriver: KONAMI都教過大家了 疊上去 61.230.121.56 05/28 09:09
Tsukasa0320: 呃 桌機用躺平的不是更浪費空間嗎? 223.137.0.67 05/28 10:04
boren: 以後就會有人問我的ram要用哪個塔散XD 114.34.254.164 05/28 11:14
verdandy: SSD上塔散、RAM上塔散,又要回到古早年 49.217.122.207 05/28 11:36
verdandy: 代的大違建時代了 49.217.122.207 05/28 11:36
nerolanx: 之後再把CPU跟GPU整合上去是吧? 211.75.47.211 05/28 12:03
SHR4587: 把GPU也拍平,就可以開始蓋都市了 39.10.34.177 05/28 13:27
narukaza: 正面位置不夠,你可以做背面啊,然後以 114.34.174.204 05/28 15:40
narukaza: 後升級RAM都要先下主板wwww 114.34.174.204 05/28 15:40
ingramchen: 跟CPU緊貼做在一起,塔散直接兩個都蓋 122.116.80.166 05/28 17:06
hmcedamon: 不錯啊 再努力一陣子以後RAM能裝背板了 36.226.202.156 05/28 17:45
kop5011111: 不會卡到塔散就是方便很多了,之前裝 27.51.121.222 05/29 09:46
kop5011111: 個塔東卡西卡的麻煩死了 27.51.121.222 05/29 09:46
dsin: 以後應該是全都做躺平一樣高 然後一個大塔散123.193.111.125 05/29 10:35
dsin: 蓋上去 就跟顯卡上面那塊散熱一樣GPU跟RAM123.193.111.125 05/29 10:36
dsin: SSD全蓋上123.193.111.125 05/29 10:36