今天還有額度 太歡樂了再來一篇~~ 這兩張發票 https://i.imgur.com/YIfjSKe.jpeg
110那張還真的已經報過了 https://i.imgur.com/LwxsxoH.jpeg
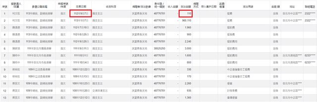
112年9月7日 110元 所以是要怎麼把兩張加在一起啦XDDD 政黑點是 這間大愛素食 原來賴清德 陳時中 林昶佐 蔡英文 選舉團隊都訂餐過?! 抓到了 果然又是綠的!!! 民眾黨為什麼都被綠營設計啦QQ 有卦嗎?? -- ※ 發信站: 批踢踢實業坊(ptt.org.tw), 來自: 203.75.79.40 (臺灣) ※ 文章網址: https://ptt.org.tw/HatePolitics/M.1723636275.A.FB4
jajujo: 媽的民進黨又熱火我了 122.11.214.89 08/14 19:51
s72005ming: 大愛素食有教你融合發票嗎? 101.12.159.9 08/14 19:51
frozenmoon: 馬的 又是綠營臥底在害柯神 58.115.116.83 08/14 19:52
murray: 民進黨又惹火我了118.166.130.129 08/14 19:52
a58461351: 這個團隊真的滿嘴鬼話XDDDD 111.80.253.79 08/14 19:52
uam: 國蔥可以醒了 連連看101.136.155.164 08/14 19:52
kterry01: 民進黨太可惡了!! 1.162.213.22 08/14 19:52
AttitudeLA: 158 SOP:民進黨你惹到我了 1.161.99.62 08/14 19:52
AttitudeLA: 打錯了 是157 1.161.99.62 08/14 19:53
sarevork: 果然又是綠的 塔綠斑太可惡 賴清德下台 1.160.8.130 08/14 19:53
s81048112: 可以連連看了 原來這家還活著150.116.130.119 08/14 19:53
CJY1025: 又是民進黨 太可惡了 36.230.72.99 08/14 19:53
iWatch2: 鶴立雞群122.121.216.251 08/14 19:53
AceGuard: KP:連餐廳都要搞我 42.79.156.230 08/14 19:55
RbJ: 一張收據報兩次,記帳的是七月鬼遮眼喔? 49.217.135.220 08/14 19:55
malisse74: 大愛已經停業了 42.77.207.45 08/14 19:56
malisse74: 所以112-113年的 全部有問題吧 42.77.207.45 08/14 19:56
malisse74: 該不會一堆收據都用來報不能報的開支吧 42.77.207.45 08/14 19:56
jixiang: 早說了他們內帳一定更精采,外帳都能搞 49.217.134.89 08/14 19:56
jixiang: 成這樣 49.217.134.89 08/14 19:56
fly0204: 沒停業啊 停業的是餐廳不是營登 36.239.122.151 08/14 19:56
bread220: 沒想到連素食餐廳老闆都是民進黨臥底116.241.171.236 08/14 19:57
demonh311: 110那張發票怎麼過的 寫阿拉伯數字 123.241.98.86 08/14 19:57
sarevork: 這種在疫情時滿多的 收店面剩廚房專攻外 1.160.8.130 08/14 19:58
sarevork: 送 1.160.8.130 08/14 19:58
Berotec: 空白收據大家都這樣搞啊 弄到96萬就 59.125.132.151 08/14 19:59
feldene: 不知道是不是複製貼上 改日期沒刪掉$110 180.92.1.144 08/14 20:01
Hohenzollern: 柯糞底薪仔不用報稅 不懂2023年的帳111.250.236.149 08/14 20:03
Hohenzollern: 已經繳稅111.250.236.149 08/14 20:03
awcd30010: 這齣真的看到怕了 要講更多謊來圓謊 101.136.253.41 08/14 20:04
etset: 抓到了民進黨 1.163.247.152 08/14 20:05
shiyo729: 臥底肯定是臥底 先抓之前是民進黨的 114.24.87.222 08/14 20:06
coldfrank: 國蔥不是之前很在意人家迷你足協的午餐 1.162.106.21 08/14 20:06
coldfrank: 菜色?這次不出來評論一下嗎? 1.162.106.21 08/14 20:06
Hohenzollern: 2023/9/7是農曆七月二十三日 這一111.250.236.149 08/14 20:07
Hohenzollern: 日要拜地基主?111.250.236.149 08/14 20:07
CavendishJr: 到底怎麼報的XDDDD 118.231.213.8 08/14 20:08
pivotalHarry: 素食當然是綠的 1.200.244.192 08/14 20:09
stocktonty: 抓到了!果然又是塔綠班隨附組織 1.200.151.122 08/14 20:11
pupu20317: 這團隊真的滿嘴鬼話 49.216.160.27 08/14 20:12
foolfighter: 一路報假帳 進去關啦 112.78.66.223 08/14 20:13
xra686: 果然又是dpp 我就知道 219.70.139.132 08/14 20:21
ppc: 民進黨惹火我了!!! 118.161.142.18 08/14 20:22
jack0216: 幹 拿用過的保險套湊數字哦 223.138.137.74 08/14 20:33
inzaghi0221: 又是民進黨! 114.25.209.171 08/14 20:36
kendiv: 他是不是有有整本大愛的空白收據 111.243.90.45 08/14 20:42